高盛发布研报称,预期快手-W(01024.HK)可灵AI的新模型将推动快手用户参与度持续提升,现时维持快手2025财年AI相关收入达到1.54亿美元的预测(相对公司指引为1.25亿美元),并重申“买入”评级,基于2026年底每股盈利预测的约14倍,给予目标价83港元。
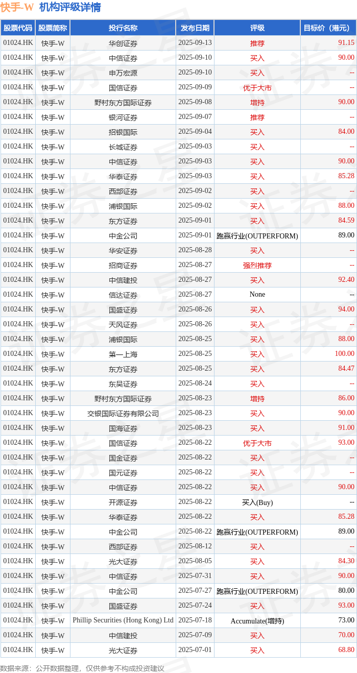
投行对该股的评级以买入为主,近90天内共有29家投行给出买入评级,近90天的目标均价为86.94港元。华创证券最新一份研报给予快手-W推荐评级,目标价91.15港元。
机构评级详情见下表:

快手-W港股市值3197.56亿港元,在计算机应用行业中排名第1。主要指标见下表:

以上内容为证券之星据公开信息整理,由AI算法生成(网信算备310104345710301240019号),不构成投资建议。










