近日,香港恒生指数公司发布2025年度上市公司可持续发展评级结果。快手科技(01024.HK)表现突出,整体可持续发展评级由A-跃升至A级,跻身行业前20%领先梯队,持续稳居恒生ESG指数和恒指ESG增强指数成分股。
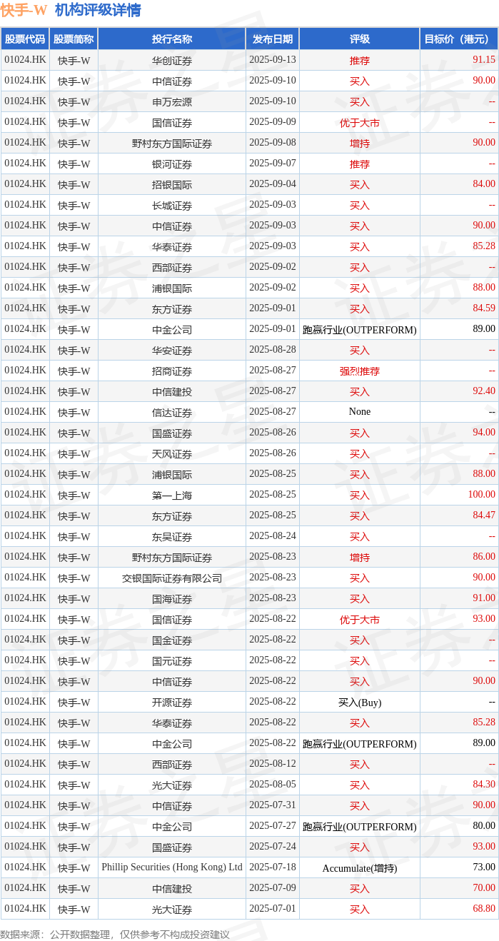
投行对该股的评级以买入为主,近90天内共有29家投行给出买入评级,近90天的目标均价为86.94港元。华创证券最新一份研报给予快手-W推荐评级,目标价91.15港元。
机构评级详情见下表:

快手-W港股市值3297.83亿港元,在计算机应用行业中排名第1。主要指标见下表:

以上内容为证券之星据公开信息整理,由AI算法生成(网信算备310104345710301240019号),不构成投资建议。










