思摩尔国际(06969.HK)发布公告,本公司(为其本身及代表其附属公司作为客户)与亿纬锂能(为其本身及代表其附属公司作为供应商)所订立日期为2022年11月4日的采购框架协议将于2025年12月31日失效。
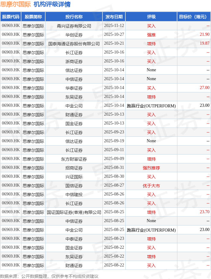
截至2025年11月20日收盘,思摩尔国际(06969.HK)报收于12.06港元,上涨0.25%,成交量1199.1万股,成交额1.44亿港元。投行对该股的评级以买入为主,近90天内共有13家投行给出买入评级,近90天的目标均价为23.08港元。甬兴证券有限公司最新一份研报给予思摩尔国际买入评级。
机构评级详情见下表:

思摩尔国际港股市值745.09亿港元,在电子制造行业中排名第2。主要指标见下表:

以上内容为证券之星据公开信息整理,由AI算法生成(网信算备310104345710301240019号),不构成投资建议。
